- 雷达液位计料位计系列产品
- 压力/液位/差压/密度变送器
- 液位仪表系列
- 流量仪表系列
- 物位仪表系列
- 液位/温度/压力/流量-报警仪
- PLC/DCS自动化控制监控系统
- GPRS无线远传装置
- 有纸/无纸记录仪系列
- 温度仪表系列
- 分析仪|检测仪|校验仪系列
全国销售热线:400-9280-163
电话:86 0517-86917118
传真:86 0517-86899586
销售经理:1560-1403-222 (丁经理)
139-1518-1149 (袁经理)
业务QQ:2942808253 / 762657048
网址:https://www.harzkj.com
电话:86 0517-86917118
传真:86 0517-86899586
销售经理:1560-1403-222 (丁经理)
139-1518-1149 (袁经理)
业务QQ:2942808253 / 762657048
网址:https://www.harzkj.com
防腐磁翻板液位计与容器连通管四氟内衬加工艺的介绍
发表时间:2019-08-19 点击次数:794 技术支持:1560-1403-222

磁翻板液位计大量地应用于各类槽罐工业容器的液位测量,不仅有各类水,有机深剂,更有各种具有腐蚀性的酸碱类液体的测量与控制,对一腐蚀性的液体测量液位的方式也有多种,防腐磁翻板液位计是其中zui为常见也zui为简便的测量仪表。防腐型磁翻板液位计也有区分,比如在常温常压,外部环境不恶劣的情况下,选择用PP材质或者PVC材质的磁翻板液位计不仅合适,也更为经济。对于测量要求严格,环境复杂,测量介质的压力和温度都较高的情况下,则要选择用不锈钢内衬四氟的磁翻板液位计则更为安全与可靠。对于内衬四氟的磁翻板液痊计,不同的厂家加工工艺与选用材质有所不同,所以导致其zui终防腐磁翻板液位计的防腐效果差别很大,而这些差别大多是由防腐磁翻板液位计连接小管内衬的不同的加工工艺所导致的。下面,就以磁翻板液位计厂家防腐磁翻板液位磁翻板液位计厂家例,介绍下连接小管的内衬是如何加工的。

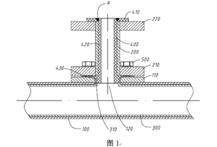
传统防腐磁翻板液位计的连接小管一般采用内衬聚四氟乙烯进行加工。其主浮筒管的内衬是采用zui新的拉伸翻边工艺,在浮筒管内表面紧衬一层聚四氟乙烯管材,两端进行翻边压紧在法兰的密封面上,使浮筒内壁与介质隔离,从而达到防腐的效果。
为方便与过程连接相连接,通常在靠近两端口处需在四氟管面上拉伸出一个虎口形状,形成三通结构。对该法兰过程连接部分的内衬,国内很多厂家采用聚四氟乙烯棒料进行车削加工,然后将其穿过过程连接法兰小管,通过拉伸翻边获得锥形密封结构,zui后用螺杆固定到主浮筒上。但由于聚四氟乙烯耐蠕变性能不好,容易产生冷流现象,用聚四氟乙烯面与聚四氟乙烯面的直接挤压进行密封,时间一久,易引起泄漏,使得防腐效果很不理想。
二、磁翻板液位计厂家防腐磁翻板液位计连接小管的内衬是如何加工的
为改变上述不足,磁翻板液位计厂家自动化工程师们经过查阅并分析相关材料的特性后发现,聚全氟乙丙烯的耐蠕变性能比聚四氟乙烯好,使用聚全氟乙丙烯制成的锥形内衬与聚四氟乙烯相配合密封时,它的回弹性可以弥补聚四氟乙烯的弹性不足,从而保证可靠密封,于是确定采用聚全氟乙丙烯材料。
但是在实施的过程中,聚全氟乙丙烯塑料的模压工艺非常复杂,制品易开裂和产生气泡,不易控制。为解决该问题,在磁翻板液位计厂家公司研发人员的努力下,经过对材料的性能进行认真分析和研究,成功开发出聚全氟乙丙烯塑料的焊接工艺,从而克服了FEP粒料模压容易产生气泡、开裂等难题,提高了内衬的成功率,取得了较好的防腐效果。磁翻板液位计厂家自动化现已就该创新申请了发明,申请号为:201710919511.7。

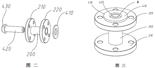
1、将小管与两片法兰焊接起来制成过程连接体,此小管与两片法兰通常为304不锈钢或其他金属材质;再将事先已注塑成形的FEP塑料带锥形头圆管穿过法兰过程连接小管,该锥形头圆管稍高出另一头法兰密封面;如图二所示。
2、使用一片FEP材质的圆环平垫压紧在圆管突出的这面法兰上,锥形头圆管与FEP圆环平垫相配合的面需要倒角形成“V”形槽;用专用夹具将FEP圆管锥形头与圆环平垫压紧在过程连接法兰的两面,如图三所示。
3、进行完前面的操作后,焊接就是接下来的重点。焊接时使用PFA可熔聚四氟乙烯焊条,先用热风焊枪对需要焊接的部位进行预热,然后再将焊条对准到前面所描述的“V”形槽处,用热风焊枪将该部位的焊条和连接面进行熔焊,一边用焊枪熔焊一边用力压住焊条,使被焊接面焊透焊牢。
4、zui后一步,待焊接部分完全冷却后,进行车削使焊接面平整。
内衬防腐磁翻板液位计适应于大多数强酸、强碱、有机溶剂等腐蚀性液体介质的测量,该工艺的成功应用,使产品的可靠性大为提高,产品的使用周期得以延长,生产的稳定进行得到了保障。
以上就是“磁翻板液位计厂家防腐磁翻板液位计连接小管的内衬是如何加工的”的相关介绍,如欲了解更多物位开关(料位开关、液位开关)、物位计(料位计、液位计)等物位测量仪表方面的知识,欢迎关注微信公众号:Jiweimeter。
上一条:同是差压式流量计,为什么V锥流量计比孔板流量计更有优势
下一条:缩短国产仪表与进口仪表的差距要从哪十个方面下功夫
- 相关文章
-
- 雷达液位计的作用 【2025-11-18】
- 雷达液位计使用注意事项 【2025-11-18】
- 雷达液位计安装注意事项全解析 【2025-11-14】
- 雷达液位计工作原理及相关说明 【2025-11-14】
- 磁致伸缩液位计+磁翻板液位计一体化强酸碱液位测量仪的研究 【2017-03-17】
- 磁翻板液位计安装与使用不当会出现哪些问题 【2015-09-27】
- 在安装中的哪些注意事项可以保证金属管转子流量计测量精度 【2016-12-07】
- 差压式液位变送器主要厂商 【2023-12-17】
- 仪器仪表行业现状分析及制约其发展原因之总结 【2014-11-02】
- 液位变送器的接线方式有哪些 【2024-01-08】








