- 雷达液位计料位计系列产品
- 压力/液位/差压/密度变送器
- 液位仪表系列
- 流量仪表系列
- 物位仪表系列
- 液位/温度/压力/流量-报警仪
- PLC/DCS自动化控制监控系统
- GPRS无线远传装置
- 有纸/无纸记录仪系列
- 温度仪表系列
- 分析仪|检测仪|校验仪系列
全国销售热线:400-9280-163
电话:86 0517-86917118
传真:86 0517-86899586
销售经理:1560-1403-222 (丁经理)
139-1518-1149 (袁经理)
业务QQ:2942808253 / 762657048
网址:https://www.harzkj.com
电话:86 0517-86917118
传真:86 0517-86899586
销售经理:1560-1403-222 (丁经理)
139-1518-1149 (袁经理)
业务QQ:2942808253 / 762657048
网址:https://www.harzkj.com
磁翻板液位计在电厂水处理系统中的使用情况简介
发表时间:2019-09-19 点击次数:847 技术支持:1560-1403-222
电厂水处理系统中的强酸碱系统, 有酸碱贮槽、计量箱等容器。为防设备腐蚀, 大部份采用在设备内壁衬耐酸橡胶, 玻璃钢等技术措施。液位计一般采用浮桶式、玻璃管式、玻璃板式等。浮桶式因标杆与套管之间有间隙, 腐蚀性气体大量从间隙处泄漏, 使设备外壁的钢壁严重腐蚀。同时, 因塑料标杆曰32 X 3.2 , 长4 m , 强度差, 变形弯曲后被套管卡住, 液位失灵, 反而形成假液位, 造成误判断。玻璃管式, 强度差易损坏, 与罐体连接困难, 不宜作的太长。玻璃板式常会发生由于和容器的接合面不平等现象造成泄漏, 此外对罐体强度也有影响, 结构也较复杂, 安装要求也较严格, 液位显示也不太醒目。
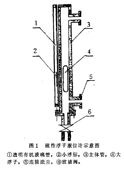
经多年实践, 我厂淘汰了以上各种型式液时计, 改用液位计厂生产的uhz 系列磁翻板液位计。该液位计zui大的特点是: 液面指示标记与介质完全隔离, 使介质置于密闭系统中, 从而有效防止了腐蚀性气体外泄, 从根木上解决了设备外壁腐蚀。同时具有耐腐蚀, 液位显示醒目, 耐压强度大, 重量轻、维护工作量小, 全量程指示测量长度范围大等优点。该液位计的结构并不复杂。( 参见图1 )。

磁翻板液位计有一和贮槽相连, 内通介质的主体管③ , 直径为60 m m , 材质为P V C / F R P 增强塑料, 所以能耐强酸, 强碱的腐蚀。因外壁用玻璃钢增强, 所以具有强度高, 耐老化的性能, 管内装大浮子④ , 圆柱形磁浮体, 封闭的外壳为P V C 塑料, 内装**性磁铁, 该磁浮体能随介质升降。管下部通过法兰, 连接一放液塑料阀⑥ ( 如果不在此取样, 该阀可以不装, 用一J者板堵死)。紧贴管体固定一透明有机玻璃管① , 它和主体管不相通。内装带磁性液位标记— 小浮标② 。介质由下法兰⑤ 进入主体管, 大浮标随液位上升, 外部的小浮标, 靠磁力作用随大浮标同步升降, 则小浮标上的两色介面位置, 即为容器内介质的液位。

我厂磁翻板液位计安装, 采用图2 的形式。三台酸贮存槽② ( 三台以上也可以) 合用一台液位计, 每台酸槽的出口与磁翻板液位计 共连在一根连通管上⑤。要看某酸槽液位, 开该酸槽通液位计的阀门④ , 液位即可醒目显示。如此布置能节省两台液位计, 价值四千余元( 酸贮存槽数量越多, 节约效果越大)。
此外, 在安装时要注意: 装大浮子时重端向上; 装液位标计( 小浮标) 时, 红色端向上, 这样可防止磁性相斥。装完后用备用磁钢, 将小浮标引到大浮子磁性材料处, 显示即可正常。目前该磁翻板液位计在我厂应用情况良好。
上一条:差压变送器原理简述、常见故障分析及正确进行校检校准
下一条:隔离膜片压阻式变送器及其在液位测量中的应用
经多年实践, 我厂淘汰了以上各种型式液时计, 改用液位计厂生产的uhz 系列磁翻板液位计。该液位计zui大的特点是: 液面指示标记与介质完全隔离, 使介质置于密闭系统中, 从而有效防止了腐蚀性气体外泄, 从根木上解决了设备外壁腐蚀。同时具有耐腐蚀, 液位显示醒目, 耐压强度大, 重量轻、维护工作量小, 全量程指示测量长度范围大等优点。该液位计的结构并不复杂。( 参见图1 )。

磁翻板液位计有一和贮槽相连, 内通介质的主体管③ , 直径为60 m m , 材质为P V C / F R P 增强塑料, 所以能耐强酸, 强碱的腐蚀。因外壁用玻璃钢增强, 所以具有强度高, 耐老化的性能, 管内装大浮子④ , 圆柱形磁浮体, 封闭的外壳为P V C 塑料, 内装**性磁铁, 该磁浮体能随介质升降。管下部通过法兰, 连接一放液塑料阀⑥ ( 如果不在此取样, 该阀可以不装, 用一J者板堵死)。紧贴管体固定一透明有机玻璃管① , 它和主体管不相通。内装带磁性液位标记— 小浮标② 。介质由下法兰⑤ 进入主体管, 大浮标随液位上升, 外部的小浮标, 靠磁力作用随大浮标同步升降, 则小浮标上的两色介面位置, 即为容器内介质的液位。

我厂磁翻板液位计安装, 采用图2 的形式。三台酸贮存槽② ( 三台以上也可以) 合用一台液位计, 每台酸槽的出口与磁翻板液位计 共连在一根连通管上⑤。要看某酸槽液位, 开该酸槽通液位计的阀门④ , 液位即可醒目显示。如此布置能节省两台液位计, 价值四千余元( 酸贮存槽数量越多, 节约效果越大)。
此外, 在安装时要注意: 装大浮子时重端向上; 装液位标计( 小浮标) 时, 红色端向上, 这样可防止磁性相斥。装完后用备用磁钢, 将小浮标引到大浮子磁性材料处, 显示即可正常。目前该磁翻板液位计在我厂应用情况良好。
上一条:差压变送器原理简述、常见故障分析及正确进行校检校准
下一条:隔离膜片压阻式变送器及其在液位测量中的应用
- 相关文章
-
- 雷达液位计的作用 【2025-11-18】
- 雷达液位计使用注意事项 【2025-11-18】
- 雷达液位计安装注意事项全解析 【2025-11-14】
- 雷达液位计工作原理及相关说明 【2025-11-14】
- 污水流量计的常见故障分析及排除方法总结 【2016-05-16】
- 液位变送器的英语缩写是 【2024-01-07】
- 2014年中国十大科技进展新闻、世界十大科技进展新闻隆重揭晓 【2015-02-03】
- 差压变送器测液位方法 【2023-12-18】
- 小巧型压力变送器型号 【2023-12-16】
- 液位变送器连接用什么线 【2023-12-23】








