- 雷达液位计料位计系列产品
- 压力/液位/差压/密度变送器
- 液位仪表系列
- 流量仪表系列
- 物位仪表系列
- 液位/温度/压力/流量-报警仪
- PLC/DCS自动化控制监控系统
- GPRS无线远传装置
- 有纸/无纸记录仪系列
- 温度仪表系列
- 分析仪|检测仪|校验仪系列
全国销售热线:400-9280-163
电话:86 0517-86917118
传真:86 0517-86899586
销售经理:1560-1403-222 (丁经理)
139-1518-1149 (袁经理)
业务QQ:2942808253 / 762657048
网址:https://www.harzkj.com
电话:86 0517-86917118
传真:86 0517-86899586
销售经理:1560-1403-222 (丁经理)
139-1518-1149 (袁经理)
业务QQ:2942808253 / 762657048
网址:https://www.harzkj.com
采用超声波液位计和浮球液位开关联动实现水泵控制方案介绍
发表时间:2019-11-28 点击次数:1212 技术支持:1560-1403-222
在一般的污水处理厂及泵站中.均设有潜水泵。在潜水泵的控制系统设计中。为了简便可靠,大多采用浮球液位开关控制进水泵的自动开停。浮球液位开关是一种靠液体的浮力改变自身状态来达到控制目的的设备。它用一根电缆线连接,置于液面之上.内部装有一个开关,当液位达到或降至某一高度时.浮球液位开关改变原来直立或倾斜的状态,内部开关状态随之改变.开关信号传至控制机构。现盐仓污水处理厂以及长安、周王庙等泵站的水泵自动控制方式即采用这种控制方法。污水处理厂和污水输送泵站利用浮球液位开关和超声波液位计控制水泵的实际工作情况以及相应的改进措施.探讨如何更合理、更安全、更经济地控制潜水泵的方法。
1浮球液位开关控制原理
现以我司为例介绍浮球开关的典型应用事例。进水泵前的污水池设有6个浮球液位开关。分成2组.信号送至ar编程序逻辑控制器(T业常用的一种能按一定顺序完成自动控制功能的设备,以下简称PLc)。浮球液位开关的位置如图l所示。

开泵的控制过程为:
当液位低于l舟浮球液位开关时,将发出低液位报警信号:
当液位高于2#浮球液位开关时,开l台进水泵;
当液位高于3#浮球液位开关时.开2台进水泵;
当液位高于4#浮球液位开关时,开3台进水泵;
当液位高于5#浮球液位开关时,开4台进水泵;
当液位高于6#浮球液位开关时,开5台进水泵,并发出高液位报警信号。
为防止进水泵频繁开停,关泵顺序为:
当液位下降至5#浮球液位开关以下时。关l台进水泵(开4台);
当液位下降至错浮球液位开关以下时,关1台进水泵(开3台);
当液位下降至3#浮球液位开关以下时,关l台进水泵(开2台);
当液位下降至2#浮球液位开关以下时,关l台进水泵(开l台);
当液位下降至l#浮球液位开关以下时,进水泵全关,并发出低液位报警。
为避免I台泵重复启动。水泵将依次循环投入工作先开先停,先停先开。当l台水泵闲故障停止工作时,另一台水泵自动投入运行。控制流程网如图2所示。
但在实际使用巾,为使浮球达到要求的高度和自由动作,要求一段长度的电缆。电缆用支架同定在提升并内。但在如此大容量的进水的开停冲击及水流的带动下。电缆线极易缠绕。加之长期多次蘑复动作、电缆老化等原因造成的电缆折断、电缆外皮破裂等损坏问题.使控制受到影响,使进水泵的自动控制无法完成.自动控制形同虚设。如果在设计中注意到这个问题.施工时将浮球的电缆绑在一根钢管上,仅留一小段能自由运动的长度以避免缠绕。但这样其他『廿J题仍无法彻底解决。而且在实际运行中当浮球出现故障,要解决和修复已出现的问题.只能等待停泵时进行。不但影响生产且沉淀污泥产生的危害人体的有害气体使工作危险性加大。针对浮球开关的这些不足和局限。如果采用超声波液位计。这些问题便可迎刃而解。
2超声波液位计的使用
我公司各泵站的池壁上为监视水位而装了1个超声波液位计.在5a的正式运行中一直处于良好的状态,且精度较高,维护、校验也很方便。为增进口f靠度,也可以考虑再增加1个超声波液位计。以防冈液位计的故障导致进水泵的误操作。
(1)根据原设计思路和图l所示尺寸,可以将原PI£程序控制顺序改为:

设2个液位汁测量值为X.、X2,仪表的精度为0.2%,表头至池底的高度为8.7m,町能偏差0.034m,取为O.04m。当X.-X:)0.04m时,取消进水泵的自动控制功能。
开泵的顺序为:(假设zui多有5台泵)
当液位上升至2.90m时,发出低液佗报警;
当液位上升至3.12m时。开l台泵;
当液位上升至3.34m时.开2台泵:
当液位上升至3.56m时,开3台泵;
当液位上升至3.78m时。开4台泵:
当液位上升至3.90米时,开5台泵,并发出高液位报警。停泵的顺序为:
当液位下降至3.78m以下时。关l台泵(开4台);
当液位下降至3.56m以下时。关l台泵(开3台);
当液位下降至3.34m以下时,关l台泵(开2台);
当液位下降至3.12m以下时,关l台泵(开l台);

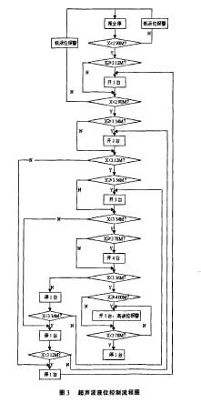
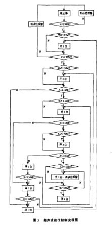
(2)除上述方法外,也可以充分利用PLc的计算和判断功能。用新的思路霞新设计.使程序简化。根据原T.艺设计.zui下部的浮球液位开关与池底高度为2.90m。每相邻两个的距离为0.22m,液位上升时,将所测值减去zui底浮球液位开关的高度除以O.22m后取整,即为将要开启的泵的台数;液位下降时,将所测值减去zui底浮球液位开关的高度除以O.22m后取整加一,即为将要开启的泵的台数。液位高于3.96m时高液位报警,液位低于2.90m时低液位报警。蔌的流程如图4所示。

3 实现的可能性
在我公司各个控制点的实际应用中,可以根据实际需要.合理利用浮球液位开关以及超声波液位计2种控制方式。在已设立PLC控制柜的生产现场。以超声波液位汁控制为主;但在尚未安装PI£控制柜的生产现场.从经济角度出发。暂时用浮球液位开关直接接在设备控制柜的自控接口上.也可达到根据渡位控制潜水泵起停的控制要求,fffi且可以很方便地调节起停液位。等整个管线基本正常运行后.再投入PLC自控系统。由于PIJ(=自控系统的可靠性较高,配合超声波液位汁对泵的开停时问、台次进行科学合理的安排,避免人为失误.增加了控制的町靠性、安全性和稳定性。
上一条:浮球液位计(变送器)检定方法技术说明及示范实例介绍
下一条:超声波液位计(物位计)在目前工业应用现状及需考虑的重要事项

1浮球液位开关控制原理
现以我司为例介绍浮球开关的典型应用事例。进水泵前的污水池设有6个浮球液位开关。分成2组.信号送至ar编程序逻辑控制器(T业常用的一种能按一定顺序完成自动控制功能的设备,以下简称PLc)。浮球液位开关的位置如图l所示。

开泵的控制过程为:
当液位低于l舟浮球液位开关时,将发出低液位报警信号:
当液位高于2#浮球液位开关时,开l台进水泵;
当液位高于3#浮球液位开关时.开2台进水泵;
当液位高于4#浮球液位开关时,开3台进水泵;
当液位高于5#浮球液位开关时,开4台进水泵;
当液位高于6#浮球液位开关时,开5台进水泵,并发出高液位报警信号。
为防止进水泵频繁开停,关泵顺序为:
当液位下降至5#浮球液位开关以下时。关l台进水泵(开4台);
当液位下降至错浮球液位开关以下时,关1台进水泵(开3台);
当液位下降至3#浮球液位开关以下时,关l台进水泵(开2台);
当液位下降至2#浮球液位开关以下时,关l台进水泵(开l台);
当液位下降至l#浮球液位开关以下时,进水泵全关,并发出低液位报警。
为避免I台泵重复启动。水泵将依次循环投入工作先开先停,先停先开。当l台水泵闲故障停止工作时,另一台水泵自动投入运行。控制流程网如图2所示。
但在实际使用巾,为使浮球达到要求的高度和自由动作,要求一段长度的电缆。电缆用支架同定在提升并内。但在如此大容量的进水的开停冲击及水流的带动下。电缆线极易缠绕。加之长期多次蘑复动作、电缆老化等原因造成的电缆折断、电缆外皮破裂等损坏问题.使控制受到影响,使进水泵的自动控制无法完成.自动控制形同虚设。如果在设计中注意到这个问题.施工时将浮球的电缆绑在一根钢管上,仅留一小段能自由运动的长度以避免缠绕。但这样其他『廿J题仍无法彻底解决。而且在实际运行中当浮球出现故障,要解决和修复已出现的问题.只能等待停泵时进行。不但影响生产且沉淀污泥产生的危害人体的有害气体使工作危险性加大。针对浮球开关的这些不足和局限。如果采用超声波液位计。这些问题便可迎刃而解。
2超声波液位计的使用
我公司各泵站的池壁上为监视水位而装了1个超声波液位计.在5a的正式运行中一直处于良好的状态,且精度较高,维护、校验也很方便。为增进口f靠度,也可以考虑再增加1个超声波液位计。以防冈液位计的故障导致进水泵的误操作。
(1)根据原设计思路和图l所示尺寸,可以将原PI£程序控制顺序改为:

设2个液位汁测量值为X.、X2,仪表的精度为0.2%,表头至池底的高度为8.7m,町能偏差0.034m,取为O.04m。当X.-X:)0.04m时,取消进水泵的自动控制功能。
开泵的顺序为:(假设zui多有5台泵)
当液位上升至2.90m时,发出低液佗报警;
当液位上升至3.12m时。开l台泵;
当液位上升至3.34m时.开2台泵:
当液位上升至3.56m时,开3台泵;
当液位上升至3.78m时。开4台泵:
当液位上升至3.90米时,开5台泵,并发出高液位报警。停泵的顺序为:
当液位下降至3.78m以下时。关l台泵(开4台);
当液位下降至3.56m以下时。关l台泵(开3台);
当液位下降至3.34m以下时,关l台泵(开2台);
当液位下降至3.12m以下时,关l台泵(开l台);

(2)除上述方法外,也可以充分利用PLc的计算和判断功能。用新的思路霞新设计.使程序简化。根据原T.艺设计.zui下部的浮球液位开关与池底高度为2.90m。每相邻两个的距离为0.22m,液位上升时,将所测值减去zui底浮球液位开关的高度除以O.22m后取整,即为将要开启的泵的台数;液位下降时,将所测值减去zui底浮球液位开关的高度除以O.22m后取整加一,即为将要开启的泵的台数。液位高于3.96m时高液位报警,液位低于2.90m时低液位报警。蔌的流程如图4所示。

3 实现的可能性
在我公司各个控制点的实际应用中,可以根据实际需要.合理利用浮球液位开关以及超声波液位计2种控制方式。在已设立PLC控制柜的生产现场。以超声波液位汁控制为主;但在尚未安装PI£控制柜的生产现场.从经济角度出发。暂时用浮球液位开关直接接在设备控制柜的自控接口上.也可达到根据渡位控制潜水泵起停的控制要求,fffi且可以很方便地调节起停液位。等整个管线基本正常运行后.再投入PLC自控系统。由于PIJ(=自控系统的可靠性较高,配合超声波液位汁对泵的开停时问、台次进行科学合理的安排,避免人为失误.增加了控制的町靠性、安全性和稳定性。
上一条:浮球液位计(变送器)检定方法技术说明及示范实例介绍
下一条:超声波液位计(物位计)在目前工业应用现状及需考虑的重要事项
相关产品
- 相关文章
-
- 雷达液位计的作用 【2025-11-18】
- 雷达液位计使用注意事项 【2025-11-18】
- 雷达液位计安装注意事项全解析 【2025-11-14】
- 雷达液位计工作原理及相关说明 【2025-11-14】
- 采用电磁流量计对冷冻水进行测量的冷量计量系统介绍 【2020-07-31】
- 防腐型磁翻板液位计助推仪器仪表行业快速发展 【2014-10-20】
- 法兰连接的液位变送器 【2023-12-25】
- 差压变送器能测液位吗 【2024-01-02】
- 法兰式液位变送器哪家好 【2023-12-19】
- 电磁流量计计流量测量仪表几种不同的检定方式区别 【2015-11-05】








