- 雷达液位计料位计系列产品
- 压力/液位/差压/密度变送器
- 液位仪表系列
- 流量仪表系列
- 物位仪表系列
- 液位/温度/压力/流量-报警仪
- PLC/DCS自动化控制监控系统
- GPRS无线远传装置
- 有纸/无纸记录仪系列
- 温度仪表系列
- 分析仪|检测仪|校验仪系列
全国销售热线:400-9280-163
电话:86 0517-86917118
传真:86 0517-86899586
销售经理:1560-1403-222 (丁经理)
139-1518-1149 (袁经理)
业务QQ:2942808253 / 762657048
网址:https://www.harzkj.com
电话:86 0517-86917118
传真:86 0517-86899586
销售经理:1560-1403-222 (丁经理)
139-1518-1149 (袁经理)
业务QQ:2942808253 / 762657048
网址:https://www.harzkj.com
磁翻板液位计原理
发表时间:2016-10-25 点击次数:2726 技术支持:1560-1403-222
磁翻板液位计原理:

如果您要采购或选型,请进入磁翻板液位计产品选购及选型详情页面:https://www.harzkj.com/cfbywj/1155.html
磁翻板液位计说明书,产品选型手册PDF下载 (点击右键另存为)点击下载>>
磁翻板液位计全系列产品展示:点击进入
磁翻板液位计是一种在生产罐区被大量使用的液位测量仪表,磁翻板液位计原理表述如下:
磁翻板液位计有一容纳浮球的腔体我们称其为主体管或外壳,它通过法兰或其他接口与容器组成一个连通器;这样它腔体内的液面与容器内的液面是相同高度的,所以腔体内的浮球会随着容器内液面的升降而升降;这时候我们并不能看到液位,所以腔体的外面装了一个翻板(翻柱)显示器,因为我们在制造浮球时在浮球沉入液体与浮出部分的交界处安装了磁钢,它与浮球随液面升降时,它的磁性透过外壳传递给翻板(翻柱)显示器,推动磁翻板(翻柱)翻转180°;由于磁翻板(翻柱)是有红、白两个半圆柱合成的圆柱体,所以翻转180°后朝向翻柱显示器外的会改变颜色(液面以下红色、以上白色),两色交界处即是液面的高度。
磁翻板液位计简便易用,具有以下突出特点和优点:
1、以浮子为感测元件,利用磁钢驱动翻片指示,因此无需能源辅助;
2、通过高密封、防泄漏等技术措施,磁翻板液位即使在低温、高温、高压、强腐蚀等各种恶劣的环境下,也能安全可靠工作;
3、因为磁翻板液位计的兼容性高,所以一直以来在工业生产中都得到了**的应用,是槽、罐等容器液位测量中的理想之选。
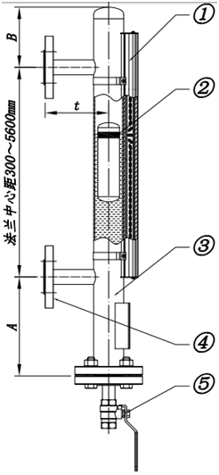
磁翻板液位计的结构由浮筒(主导管)、磁浮子、磁翻板(磁翻柱)、指示器、排污阀、连接法兰等组成。如下图所示:
磁翻板液位计结构图
①指示器;②磁浮子;③浮筒;④连接法兰;⑤排污阀
控制型液位计是在磁翻板液位计的基础上增加了磁控开关,在监测液位的同时磁控开关信号可用于对液位进行控制或报警;远传型是在磁翻板液位计的基础上增加了4~20mA变送传感器,在现场监测液位的同时将液位的变化通过变送传感器、线缆及仪表传到控制室,实现远程监测和控制。通过本文关于磁翻板液位计原理及动画的说明,可以清楚地了解到磁翻板液位计工作原理及结构。
上一条:电磁流量计的工作原理及测量优势
下一条:浮球液位计工作原理

如果您要采购或选型,请进入磁翻板液位计产品选购及选型详情页面:https://www.harzkj.com/cfbywj/1155.html
磁翻板液位计说明书,产品选型手册PDF下载 (点击右键另存为)点击下载>>
磁翻板液位计全系列产品展示:点击进入
磁翻板液位计有一容纳浮球的腔体我们称其为主体管或外壳,它通过法兰或其他接口与容器组成一个连通器;这样它腔体内的液面与容器内的液面是相同高度的,所以腔体内的浮球会随着容器内液面的升降而升降;这时候我们并不能看到液位,所以腔体的外面装了一个翻板(翻柱)显示器,因为我们在制造浮球时在浮球沉入液体与浮出部分的交界处安装了磁钢,它与浮球随液面升降时,它的磁性透过外壳传递给翻板(翻柱)显示器,推动磁翻板(翻柱)翻转180°;由于磁翻板(翻柱)是有红、白两个半圆柱合成的圆柱体,所以翻转180°后朝向翻柱显示器外的会改变颜色(液面以下红色、以上白色),两色交界处即是液面的高度。
磁翻板液位计简便易用,具有以下突出特点和优点:
1、以浮子为感测元件,利用磁钢驱动翻片指示,因此无需能源辅助;
2、通过高密封、防泄漏等技术措施,磁翻板液位即使在低温、高温、高压、强腐蚀等各种恶劣的环境下,也能安全可靠工作;
3、因为磁翻板液位计的兼容性高,所以一直以来在工业生产中都得到了**的应用,是槽、罐等容器液位测量中的理想之选。
磁翻板液位计的结构由浮筒(主导管)、磁浮子、磁翻板(磁翻柱)、指示器、排污阀、连接法兰等组成。如下图所示:

磁翻板液位计结构图
①指示器;②磁浮子;③浮筒;④连接法兰;⑤排污阀
控制型液位计是在磁翻板液位计的基础上增加了磁控开关,在监测液位的同时磁控开关信号可用于对液位进行控制或报警;远传型是在磁翻板液位计的基础上增加了4~20mA变送传感器,在现场监测液位的同时将液位的变化通过变送传感器、线缆及仪表传到控制室,实现远程监测和控制。通过本文关于磁翻板液位计原理及动画的说明,可以清楚地了解到磁翻板液位计工作原理及结构。

上一条:电磁流量计的工作原理及测量优势
下一条:浮球液位计工作原理
- 相关文章
-
- 雷达液位计的作用 【2025-11-18】
- 雷达液位计使用注意事项 【2025-11-18】
- 雷达液位计安装注意事项全解析 【2025-11-14】
- 雷达液位计工作原理及相关说明 【2025-11-14】
- 压力变送器维护保养 【2023-12-18】
- 电容液位计针对于被测介质介电常数发生变化时场合应用分析 【2020-04-18】
- 压差式液位变送器显示单位 【2023-12-25】
- 浅析磁翻板液位计磁浮子下沉原因及偏差解决方法 【2016-08-04】
- 液位变送器公司有哪些品牌 【2024-01-02】
- 电子式差压液位变送器是双法兰 【2024-01-01】








