- 雷达液位计料位计系列产品
- 压力/液位/差压/密度变送器
- 液位仪表系列
- 流量仪表系列
- 物位仪表系列
- 液位/温度/压力/流量-报警仪
- PLC/DCS自动化控制监控系统
- GPRS无线远传装置
- 有纸/无纸记录仪系列
- 温度仪表系列
- 分析仪|检测仪|校验仪系列
全国销售热线:400-9280-163
电话:86 0517-86917118
传真:86 0517-86899586
销售经理:1560-1403-222 (丁经理)
139-1518-1149 (袁经理)
业务QQ:2942808253 / 762657048
网址:https://www.harzkj.com
电话:86 0517-86917118
传真:86 0517-86899586
销售经理:1560-1403-222 (丁经理)
139-1518-1149 (袁经理)
业务QQ:2942808253 / 762657048
网址:https://www.harzkj.com
电磁流量计在工业管道测量中选型、安装、调试的常规要求
发表时间:2018-09-28 点击次数:805 技术支持:1560-1403-222
电磁流量计的**应用,目前已经拓展个工业生产领域的各个行业,包括民用工程与农业生产中都会经常会用到,比如市政、水利建设中的自来水管道与输水管道中的使用频度也很高。电磁流量计是基于电磁感应原理,管道中的导电流体在流经测量管段时,对于电磁流量计所加的磁场产生感生的电动势来测量管道中流经介质的体积流量。随着现代化生产的要求不断提高,工业生产中对于物料的自动化控制要求也越来越严格,电磁流量计作为一种能确精确测量的自动化过程仪表越来越**地应用于石化、造纸、冶金、环保、食品等行业领域。
由于电磁流量计分布分散,运行环境较为复杂,其安装工艺极可能影响其运行工况,以及发生故障的机率,从而影响整个仪表控制系统的运行。故对电磁流量计的原理进行分析,对其安装工艺的研究,调试技术总结不断更新显得十分必要。本文通过对电磁流量计的工作原理及其工作环境要求等因素的分析,总结电磁流量计在选型、安装、调试等应用的技术要点。
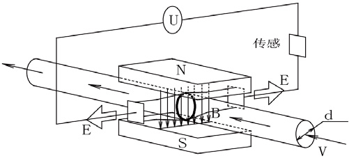
一、电磁流量计的工作原理图1
E=kVBd
其中,E:感应电动势,
k:调整系统,因仪表构造而异,
V:被测液体平均流速,
B:磁感应强度,
d:被测管内径。
如图,测量流量时,流体流过垂直于流动方向的磁场,导电性流体的流动感应出一个与平均流速成正比的电势。其感应电压信号通过两个电极检出,并通过电缆传送至转换器,经过信号处理及相关运算后,将累计流量和瞬时流量显示在转换器的显示屏上。
二、电磁流量计的选型
1、口径选择
选择电磁流量计不一定按照管径尺寸来确定其选用口径。一般而言,当管道流速在0.5~1.5m/s 为经济流速,若流体介质质对侧壁磨损性较小,建议长期流速大于3m/s,但应小于7m/s,此时可选取小于管径的流量计。
2、内衬材料选择
电磁流量计主要用于测量流体物质的流量,而随着被测物质的腐蚀性、磨损性、温度及凝结性等特点,应选择不同内衬材料的流量计。
3、电极材料的选择
电磁流量计的电极装于其管道内壁,与被测物质直接接触,故应根据被测物质的腐蚀性选定。一般用于制造电极的材料有钛(Ti)、钽(Ta)、铂-铱(Pt-Yi)合金、哈氏合金C(HC)、316L等。
4、其它参数的选择
电磁流量计的选择还应考虑防护等级、连接法兰及电缆等因素。
电磁流量计的传感器与转换器之间用电缆进行连接,其长度与被测物质的电导率有关,大长度为低电导率的5 倍,但长度一般不超过100 米,且要求用金属管道单独保护。
三、电磁流量计的安装
1、安装准备工作
电磁流量计安装前,应仔细核对其参数,主要核对其口径、内衬、电极等参数是否符合设计要求,有集中BA 控制的应确认其与控制系统的匹配性。
2、安装方位的选取
由于电磁流量计安装于流体管道上,其测量数据的准确性与其内部液态物质的充满度有关,故在选取安装位置时,应注意以下几点:
(1)流量计不得安装在泵的抽吸侧,如图2 所示。

(2)开口排放的管道,流量计应装在可存储液体的底段,以免倒吸空气影响测量精度。如图3 所示。
(3)电磁流量计附近需装阀门时,阀门应装于流量计的下游。
(4)管道落差较大时,需在流量计的下游设置上弯及排所阀。
(5)安装电磁流量计时,应充分考虑管道中产生气泡的可能性,予以避免。
3、电磁流量计安装及接地
由于电磁流量计的测量感应电流很小,电压较低,易受外界电磁噪声的影响,故在安装时应进行可靠的接地连(跨)接。一般小口径的流量计配备有接地环或接地极,接地连(跨)接时可直接用接地线进行连接;对于大口径的流量计,需另行加工接地环用于接地连(跨)接。
对于安装于非金属管道或设有阴极保护管道上的电磁流量计,须在流量计的两侧安装专用接地环,其作用是通过流量计外壳接地形成一个屏蔽外界干扰的空间,以提高其测量精度。
四、电磁流量计的调试
(1)调试前检查及准备:电磁流量计在调试前,应对管道及流量计进行彻底检查,包括管道杂物等清理,油性介质管道还需进行干燥处理。
(2)通水调试:无论是测量水性介质、混悬液体,还是测量油性介质的仪表,在正式调试前,均需进行通水调试。
(3)系统调试:电磁流量计在进行完单项功能通水测试,控制主机各项预备调试完成后,可进行系统调试。油性介质管道需进行干燥后方可通入被测介质进行系统运转。
系统调试时,主机系统应预先对各个测量点进行编码扫描,确保各仪表部件均在正常工作状态后方可进行功能性调试。功能性调试时,由主机系统对各仪表分别进行参数的读取,临界值报警试验等,然后进行控制数据的写入。逐一进行调试,并将相关数据发送到相关上机位进行分析。
五、总结
通过电磁流量计在工业管道控制系统的应用,在仪表的选型、安装工艺的调整、试验等方面进行总结,为提高工业管道控制系统中电磁仪表安装、调试的成功率积累了一定的技术经验,为工业管道控制系统更高程度的集成化、自动化提供了实践经验。
上一条:磁翻板液位计的连接法兰及日常维护中的故障解决
下一条:仪器仪表进口关税大幅降低是机遇也是挑战 国内仪表企业任重道远
由于电磁流量计分布分散,运行环境较为复杂,其安装工艺极可能影响其运行工况,以及发生故障的机率,从而影响整个仪表控制系统的运行。故对电磁流量计的原理进行分析,对其安装工艺的研究,调试技术总结不断更新显得十分必要。本文通过对电磁流量计的工作原理及其工作环境要求等因素的分析,总结电磁流量计在选型、安装、调试等应用的技术要点。

一、电磁流量计的工作原理图1

图1 电磁流量计原理示意图
电磁流量计主要由信号转换器与传感器构成,其原理是基于法拉利电磁感应定律,在其传感器中与被测管轴线垂直方向安装一对检测电极,当其接入液态介质管道,导电液态物质沿管轴侧运动时,导电液体作切割磁力线运动而产生感应电动势,此感应电动势由其两个电极测出,其理论数值为:E=kVBd
其中,E:感应电动势,
k:调整系统,因仪表构造而异,
V:被测液体平均流速,
B:磁感应强度,
d:被测管内径。
如图,测量流量时,流体流过垂直于流动方向的磁场,导电性流体的流动感应出一个与平均流速成正比的电势。其感应电压信号通过两个电极检出,并通过电缆传送至转换器,经过信号处理及相关运算后,将累计流量和瞬时流量显示在转换器的显示屏上。
二、电磁流量计的选型
1、口径选择
选择电磁流量计不一定按照管径尺寸来确定其选用口径。一般而言,当管道流速在0.5~1.5m/s 为经济流速,若流体介质质对侧壁磨损性较小,建议长期流速大于3m/s,但应小于7m/s,此时可选取小于管径的流量计。
2、内衬材料选择
电磁流量计主要用于测量流体物质的流量,而随着被测物质的腐蚀性、磨损性、温度及凝结性等特点,应选择不同内衬材料的流量计。
3、电极材料的选择
电磁流量计的电极装于其管道内壁,与被测物质直接接触,故应根据被测物质的腐蚀性选定。一般用于制造电极的材料有钛(Ti)、钽(Ta)、铂-铱(Pt-Yi)合金、哈氏合金C(HC)、316L等。
4、其它参数的选择
电磁流量计的选择还应考虑防护等级、连接法兰及电缆等因素。
电磁流量计的传感器与转换器之间用电缆进行连接,其长度与被测物质的电导率有关,大长度为低电导率的5 倍,但长度一般不超过100 米,且要求用金属管道单独保护。
三、电磁流量计的安装
1、安装准备工作
电磁流量计安装前,应仔细核对其参数,主要核对其口径、内衬、电极等参数是否符合设计要求,有集中BA 控制的应确认其与控制系统的匹配性。
2、安装方位的选取
由于电磁流量计安装于流体管道上,其测量数据的准确性与其内部液态物质的充满度有关,故在选取安装位置时,应注意以下几点:
(1)流量计不得安装在泵的抽吸侧,如图2 所示。

图2 电磁流量计安装位置图
(2)开口排放的管道,流量计应装在可存储液体的底段,以免倒吸空气影响测量精度。如图3 所示。

图3 电磁流量计安装于排放口作法
(3)电磁流量计附近需装阀门时,阀门应装于流量计的下游。
(4)管道落差较大时,需在流量计的下游设置上弯及排所阀。
(5)安装电磁流量计时,应充分考虑管道中产生气泡的可能性,予以避免。
3、电磁流量计安装及接地
由于电磁流量计的测量感应电流很小,电压较低,易受外界电磁噪声的影响,故在安装时应进行可靠的接地连(跨)接。一般小口径的流量计配备有接地环或接地极,接地连(跨)接时可直接用接地线进行连接;对于大口径的流量计,需另行加工接地环用于接地连(跨)接。
对于安装于非金属管道或设有阴极保护管道上的电磁流量计,须在流量计的两侧安装专用接地环,其作用是通过流量计外壳接地形成一个屏蔽外界干扰的空间,以提高其测量精度。
四、电磁流量计的调试
(1)调试前检查及准备:电磁流量计在调试前,应对管道及流量计进行彻底检查,包括管道杂物等清理,油性介质管道还需进行干燥处理。
(2)通水调试:无论是测量水性介质、混悬液体,还是测量油性介质的仪表,在正式调试前,均需进行通水调试。
(3)系统调试:电磁流量计在进行完单项功能通水测试,控制主机各项预备调试完成后,可进行系统调试。油性介质管道需进行干燥后方可通入被测介质进行系统运转。
系统调试时,主机系统应预先对各个测量点进行编码扫描,确保各仪表部件均在正常工作状态后方可进行功能性调试。功能性调试时,由主机系统对各仪表分别进行参数的读取,临界值报警试验等,然后进行控制数据的写入。逐一进行调试,并将相关数据发送到相关上机位进行分析。
五、总结
通过电磁流量计在工业管道控制系统的应用,在仪表的选型、安装工艺的调整、试验等方面进行总结,为提高工业管道控制系统中电磁仪表安装、调试的成功率积累了一定的技术经验,为工业管道控制系统更高程度的集成化、自动化提供了实践经验。
上一条:磁翻板液位计的连接法兰及日常维护中的故障解决
下一条:仪器仪表进口关税大幅降低是机遇也是挑战 国内仪表企业任重道远
相关产品
- 相关文章
-
- 雷达液位计的作用 【2025-11-18】
- 雷达液位计使用注意事项 【2025-11-18】
- 雷达液位计安装注意事项全解析 【2025-11-14】
- 雷达液位计工作原理及相关说明 【2025-11-14】
- 四氟材质F46与F4 内衬防腐型磁翻板液位计有哪些不同之处 【2021-10-21】
- 简述浮标液位计应用范围及工作情况说明 【2018-06-08】
- 单晶硅压力变送器原理 【2023-12-14】
- 工业可燃气体检测仪器仪表管理规范规定 【2015-08-17】
- 决定电容式压力变送器的选型的几个关键参数要求及相应方法 【2020-07-02】
- 投入式液位计产品特点及使用维护注意事项 【2015-11-08】








