- 雷达液位计料位计系列产品
- 压力/液位/差压/密度变送器
- 液位仪表系列
- 流量仪表系列
- 物位仪表系列
- 液位/温度/压力/流量-报警仪
- PLC/DCS自动化控制监控系统
- GPRS无线远传装置
- 有纸/无纸记录仪系列
- 温度仪表系列
- 分析仪|检测仪|校验仪系列
电话:86 0517-86917118
传真:86 0517-86899586
销售经理:1560-1403-222 (丁经理)
139-1518-1149 (袁经理)
业务QQ:2942808253 / 762657048
网址:https://www.harzkj.com
玻璃板液位计

RZ-UB系列玻璃板液位计可用来直接指示密封容器中的液位高度,具有结构简单,直观可靠,经久耐用等优点,但容器中的介质必须是与钢、钢纸及石墨压环不起腐蚀作用的。适用于化工、石油等工业低温设备的液位指示装置。
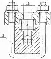
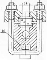
一、玻璃板液位计产品结构
仪表的上下阀上装有法兰接头,与容器连接构联通器,透过玻璃板直接指示容器布什的液位,“夹套型”设有加热或冷却装置。该装置加热时可用蒸气,冷却时可用循环水,这样可以调节流动性能,夹套型接管尺寸ZG1/4内螺纹。在上下阀内装有钢球,当玻璃板因意外事故破坏时,钢球在容器压力作用下,自动密封,防止容器内的液体继续外流。在仪表的上端针形阀装有阻塞螺钉,可供放气之用,下端针形阀也装有阻塞螺钉。可供放空、取样、排污、清洗。
二、玻璃板液位计技术数据
1、针形阀的自动关闭压力 ≥0.2MPa
2、夹套蒸气压力为 ≤0.6MPa
3、玻璃板的急变温差为 ≤240℃
注:我厂承接特殊规格的定货。
三、玻璃板液位计产品类型
名称 |
型号 |
公称压力MPa |
介质温度℃ |
结构特征 |
(规格按上、下阀中心线间距离 |
标准号 | ||||||
结构形式 |
材料 |
L=304 |
L=500 |
L=800 |
L=1100 |
L=1400 |
L=1700 | |||||
透光式玻璃板液位计 |
AT2.5 |
2.5 |
-20~+250 |
普通型 |
I(碳钢) II(1Cr18Ni9Ti) |
△ |
△ |
△ |
△ |
△ |
HG5-1364-80 | |
夹套型 |
I(碳钢) II(1Cr18Ni9Ti) |
△ |
△ |
△ |
△ |
△ | ||||||
AT6.3 |
6.3 |
-20~+250 |
普通型 |
I(碳钢) II(1Cr18Ni9Ti) |
△ |
△ |
△ |
△ |
△ |
HG5-1365-80 | ||
夹套型 |
I(碳钢) II(1Cr18Ni9Ti) |
△ |
△ |
△ |
△ |
△ | ||||||
反射式玻璃板液位计 |
R4.0 |
4.0 |
-20~+250 |
普通型 |
I(碳钢) II(1Cr18Ni9Ti) |
△ |
△ |
△ |
△ |
△ |
HG5-1366-80 | |
夹套型 |
I(碳钢) II(1Cr18Ni9Ti) |
△ |
△ |
△ |
△ |
△ | ||||||
R0.6 |
0.6 |
-20~+250 |
带颈衬里 |
III(碳钢衬里) |
△ |
HG5-1367-80 | ||||||
带颈 |
I(碳钢) II(1Cr18Ni9Ti) |
△ △ |
HG5-1368-80 | |||||||||
R |
常压 |
-20~+250 |
衬里 |
III(碳钢衬里) |
△ △ |
HG1369-80 | ||||||
嵌入联接 |
I(碳钢) II(1Cr18Ni9Ti) |
△ △ |
HG5-1370-80 | |||||||||
RZ-UB系列玻璃板液位计外型尺寸图
|
安装、使用与维护
1、为了保证自动密超过计划作用,容器内的介质压力不得小于0.2MPa,在打开上下阀时,阀杆退出转数不少于4转(使钢球封门时,不致于碰到阀杆的**)。
2、使用中的仪表应定期检查。清洗玻璃板内外壁污垢,使液位显示清晰。
3、检修装配玻璃板在旋紧螺栓时,要密切注意玻璃板受力不均而破碎。因此,螺栓须严格按图示1、2、3┈┈┈10、11、12顺序交叉地分多次夹紧玻璃板。
- 相关文章
-
- 雷达液位计的作用 【2025-11-18】
- 雷达液位计使用注意事项 【2025-11-18】
- 雷达液位计安装注意事项全解析 【2025-11-14】
- 雷达液位计工作原理及相关说明 【2025-11-14】
- 液化石油气储罐玻璃板液位计计量误差初探 【2020-08-05】
- 磁翻板液位计和玻璃板液位计各自产品特点及适用场合 【2018-09-04】












